| ГЛУБИНОМЕРЫ SCHUT (Голландия) | |
| Штангенглубиномер цифровой (электронный), 0-150мм, 0-200мм, 0-300мм, 0-500мм; 0.01мм | подробнее>> |
| Штангенглубиномер нониусный; 0-200мм, 0-300мм, 0-500мм; 0.02мм | подробнее>> |
| Штангенглубиномер нониусный; 0-200мм, 0-300мм, 0-500мм, 0-800, 0-1000; 0.02мм | подробнее>> |
| Штангенглубиномер цифровой(электронный) 0-21,5мм; 0.01мм | подробнее>> |
| Нониусный штангенглубиномер для отверстий в цилиндрах, 0-60мм, 0.05мм | подробнее>> |
| Глубиномер часового типа (с индикатором); 0-25мм, 0.01мм | подробнее>> |
| Глубиномер цифровой (электронный) микрометрического типа; 0-300мм, 0.001мм | подробнее>> |
| Глубиномер микрометрического типа; 0-300мм; 0.01мм | подробнее>> |
|
Глубиномеры TESA (Швейцария) |
|
| Глубиномер цифровой (электронный) TESA IP67; 0-25мм, 0-200мм, 0-250мм, 0-300мм, 0-500м; 0.01мм | подробнее>> |
| Глубиномер нониусный TESA, 0-150, 0-250мм, 0-300мм, 0-500мм, 0-600мм; 0.01мм | подробнее>> |
| Глубиномер TESA ISOMASTER микрометрического типа, 0-150мм; 0.01мм | подробнее>> |
|
Глубиномеры MITUTOYO (Япония) |
|
| Штангенглубиномер цифровой (электронный) MITUTOYO Absolute DIGIMATIC/Coolant Proof IP67; 0-1000мм; 0.01мм; серия 571 ( 571.201, 571.202, 571.203, 571.204, 571.205, 571.206, 571.207) | подробнее>> |
| Штангенглубиномер нониусный MITUTOYO; 0-1000мм, 0.02/0.05мм; серия 527 | подробнее>> |
| Штангенглубиномер нониусный MITUTOYO с наконечником в виде крючка; 0-300мм, 0.02/0.05мм; серия 527 | подробнее>> |
| Штангенглубиномер со стрелочным индикатором; MITUTOYO; 0-300мм, 0.05мм; серия 527 | подробнее>> |
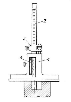
Глубиномер, прибор для измерения глубин отверстий, пазов, высоты уступов и т.д. Основанием Г. устанавливают на поверхность, от которой определяют размер. В зависимости от вида отсчётного устройства, по которому определяется размер, Г. подразделяются на штангенглубиномеры (рис. 1) с пределом измерений от 0 до 200 и 320 мм и величиной отсчёта 0,05 мм; с пределом измерений от 0 до 500 мм и величиной отсчёта 0,1 мм; микрометрические Г. (рис. 2) с пределом измерения до 150 мм и ценой деления 0,01 мм; индикаторные Г. (рис. 3) с пределом измерения 100 мм и ценой деления 0,01 мм. Большое распространение получили штангенглубиномеры с плоским мерным стержнем, некоторые из них имеют штанги с уступом на конце для измерения, например, толщины паза или штанги в виде цилиндрического стержня диаметром 2 мм для измерения глубин в труднодоступных местах. На штангенглубиномерах размер отсчитывается непосредственно по линейке с делениями; микрометрические и индикаторные Г. снабжаются сменными измерительными стержнями, показания отсчитываются соответственно по микрометру с пределом измерения до 25 мм или индикатору с пределом измерения 10 мм.

Рис.1 ШТАНГЕНГЛУБИНОМЕР

Рис.2 Микрометрический глубиномер

Рис.3 Индикаторный глубиномер

